● 压力表

325

产品名称: 差动远传压力表系列(YTT型)

发布日期: 2015-04-10

点击数: 2368

询价: 点击产品询价

二维码:

简述:

产品详情

一、主要技术指标

● 接    头:  304SS

● 波 登 管:  304SS

● 密    封:  丁腈、特氟龙、橡胶

● 防护等级:  IP64

● 温    度:  -40~70℃

● 工作压力:  静 负 荷:用至测上限值的3/4

                   交变负荷:用至测量上限值的2/3

● 精度等级:  1.6级 
● 测量范围(MPa):0~0.1至60、-0.1~0、-0.1~0.05至2.4
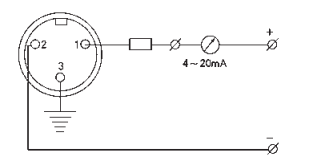
● 输出信号: 4~20mA·DC

● 电源电压: 24VDC   

● 消耗功率: ≤3W

● 负载电阻: 0~350Ω

● 工作条件: 环境及工作介质温度应不超过-20~60℃,

                      相对温度≤85%RH,且震动和被测介质的

                     急剧脉动的应对仪表正常工作无明显影响。

二、选型 

附接线示意图